  | 
       
      
         | 
       
      
        |   | 
       
      
         | 
       
      
         | 
       
      
        
            
              
                  
                    
                      业务洽谈: 
联系人:张顺平   
手机:17727550196(微信同号)   
QQ:3003262363 
EMAIL:zsp2018@szczkjgs.com 
联系人:鄢先辉   
手机:17727552449 (微信同号) 
QQ:2850985542 
EMAIL:yanxianhui@szczkjgs.com 
负责人联络方式: 
手机:13713728695(微信同号)  
QQ:3003207580  
EMAIL:panbo@szczkjgs.com 
联系人:潘波  | 
                     
                  | 
             
          | 
       
      
        |   | 
       
      | 
   
  
      | 
   
 
 | 
    
      
          | 
        当前位置:首页 -> 方案设计 | 
       
      
         | 
       
      
         | 
       
      
        
          
            | AK4637   低功耗24位音频CODEC解决方案 | 
           
          
             | 
           
          
             | 
           
          
            | 文章来源: 更新时间:2015/11/17 13:28:00 | 
           
          
             | 
           
          
            
                
                  
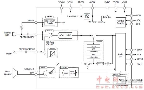
AKM公司的AK4637是集成了麦克风和扬声器放大器的低功耗24位单声道音频编解码器(CODEC),取样频率从表面上8kHz到48kHz,输入电路包括麦克风放大器和高性能数字自动电平控制电路(ALC),输出电路包括功率1W的扬声器放大器,主要用在音频窄带,宽带和超宽带声音信号处理.本文介绍了AK4637主要特性,功能框图以及评估板AKD4637-B功能,框图,电路图,PCB元件布局图和设计图. 
The AK4637 is a low power 24-bit Mono CODEC with a microphone and speaker amplifiers. The AK4637 supports sampling frequency from 8kHz to 48kHz. It is suitable for a wide range of application from speech signal processing for narrowband, wideband and super wideband to sound signal processing for audio band.  
The input circuits include a microphone amplifier and a high performance digital ALC (automatic level control) circuit. In addition, the output circuits include a speaker amplifier with 1W output power. It is suitable for various products as well as portable applications with recording/playback function.  
The AK4637 are available in a small 20-pin QFN (3mm x 3mm, 0.4mm pitch: AK4637EN) package saving mounting area on the board. 
 
AK4637主要特性: 
1. Recording Functions  
 Analog Input  
 Monaural Single-ended input or Differential input  
 Microphone Amplifier: +30dB ~ 0dB, 3dB Step  
 Microphone Power Supply: 2.0V or 2.4V, Noise Level= 108dBV  
 Digital ALC (Automatic Level Control)  
- Setting Range: +36dB  52.5dB, 0.375dB Step & Mute  
 ADC Performance: S/(N+D): 83dB, DR, S/N: 88dB (MIC-Amp=+18dB)  
S/(N+D): 84dB, DR, S/N: 95dB (MIC-Amp=0dB)  
 Wind Noise Reduction Filter  
 5-Band Notch Filter: Include Dynamic Gain Control  
 Digital Microphone Interface  
2. Playback Functions  
 Digital ALC (Automatic Level Control)  
- Setting Range: +36dB ~ 52.5dB, 0.375dB Step & Mute  
 Sidetone Mixer & Volume Control (0dB ~ 18dB, 6dB Step)  
 Digital Volume Control  
- +12dB ~ 89.5dB, 0.5dB Step & Mute  
 Mono Speaker Amplifier (with Line Output Switch)  
- Speaker Amplifier Porformance: S/(N+D): 75dB@250mW, S/N: 97 dB  
- BTL Output  
- Output Power: 400mW@8 (AVDD=3.3V), 1W@8 (AVDD=5V)  
 Analog Mixing: BEEP Input  
3. Power Management  
4. Master Clock:  
(1) PLL Mode  
Frequencies: 11.2896MHz, 12MHz, 12.288MHz, 13.5MHz, 24MHz, 27MHz  
(MCKI pin), 16fs, 32fs, 64fs (BICK pin)  
(2) External Clock Mode  
Frequencies: 256fs, 384fs, 512fs or 1024fs (MCKI pin)  
5. Sampling Frequencies  
 PLL Master Mode:  
8kHz, 11.025kHz, 12kHz, 16kHz, 22.05kHz, 24kHz, 32kHz, 44.1kHz, 48kHz  
 PLL Slave Mode (BICK pin): 8kHz ~ 48kHz  
 EXT Master/Slave Mode:  
8kHz ~ 48kHz (256fs, 384fs, 512fs), 8kHz  24kHz (1024fs)  
6. Master/Slave Mode  
7. Audio Interface Format: MSB First, 2’s complement  
 ADC: DSP Mode, 16/24bit MSB justified, 16/24bit I2S  
 DAC: DSP Mode, 16/24bit MSB justified, 16bit LSB justified, 16/24bit I2S  
8. P I/F: I2C Bus (Ver 1.0, 400kHz Fast-Mode)  
9. Operating Temperature: Ta = 40  85C  
10. Power Supply  
 Analog Power Supply (AVDD): 2.8 ~ 5.5V  
 Digital Power Supply (DVDD): 1.6 ~ 1.98V  
 Digital I/O Power Supply (TVDD): 1.6 or (DVDD – 0.2) ~ 3.6V  
11. Package:  
 20-pin QFN (3 x 3 mm, 0.4mm pitch) 
 
AK4637应用: 
 
 IP Camera  
 Digital Camera  
 MFP(Multi- Function Printer) 
  
图1.AK4637功能框图 
 
评估板AKD4637-B 
The AKD4637-B is an evaluation board for the AK4637 24bit CODEC with built-in PLL and MIC/SPK Amplifier. 
The AKD4637-B has the interface with AKM’s A/D evaluation boards. Therefore, it’s easy to evaluate theAK4637. The AKD4637-B also has the digital audio interface and can achieve the interface with digital audiosystems via opt-connector. 
 
评估板AKD4637-B功能: 
 Compatible with 2 types of interface 
- Direct interface with AKM’s A/D converter evaluation boards 
- DIT/DIR with optical input/output 
 USB port for board control 
  
图2.评估板AKD4637-B框图 
  
图3.评估板AKD4637-B电路图 
  
图4.评估板AKD4637-B PCB元件布局图(A面) 
  
图5.评估板AKD4637-B PCB元件布局图(B面) 
  
图6.评估板AKD4637-B PCB设计图(A面) 
  
图7.评估板AKD4637-B PCB设计图(B面)  
                       
                   | 
                 
              | 
           
          
            |   | 
           
          
            |   | 
           
         
          
          
           | 
       
      
         | 
       
      |